八零图社

视觉艺术探索平台

首页 最新 热门 排行

分类浏览

自然风光 动漫卡通 美食摄影 科技数码 人物写真 创意设计 壁纸背景 游戏原画

© 2026 八零图社

探索无限视觉可能

  1. 首页
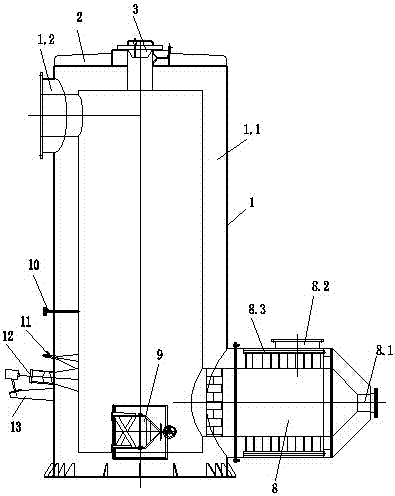
  2. 柴火炉二次燃烧制作图
  3. 图片详情
加载中...
一种二次燃烧炉制造技术

一种二次燃烧炉制造技术

图片尺寸 395x496
上传时间 2026-03-17 06:30:50
关键词 柴火炉二次燃烧制作图
查看原图 下载图片

图片链接

原图
外链

相关图片

口加到炉膛内的炉篦上,通过一次风道点燃颗粒燃料,待颗粒燃料燃烧后

口加到炉膛内的炉篦上,通过一次风道点燃颗粒燃料,待颗粒燃料燃烧后

3,456 928
magmamini2最轻帐篷柴火炉二次进气钛炉

magmamini2最轻帐篷柴火炉二次进气钛炉

8,107 740
一种二次进风高效节能炉制造技术

一种二次进风高效节能炉制造技术

5,336 408
cn105387714a_一种二次燃烧炉有效

cn105387714a_一种二次燃烧炉有效

5,710 970
一种二次燃烧的节能锅炉的制作方法

一种二次燃烧的节能锅炉的制作方法

7,654 254
网友"李钊大哥"的二次燃烧柴气炉尺寸结构分解图

网友"李钊大哥"的二次燃烧柴气炉尺寸结构分解图

9,085 990
网友"李钊大哥"的二次燃烧柴气炉尺寸结构分解图

网友"李钊大哥"的二次燃烧柴气炉尺寸结构分解图

8,353 780
筷子筒做的柴火炉燃烧效果不错

筷子筒做的柴火炉燃烧效果不错

4,349 359

随机推荐

女版层次碎发

女版层次碎发

6,016 230
张韶涵

张韶涵

6,657 885
拥有10万亿矿山,年营收5051亿,他被称为"世界铜王"

拥有10万亿矿山,年营收5051亿,他被称为"世界铜王"

4,853 196
"大黑牛"奔跑时受伤,范爷做的这些细节见证人品

"大黑牛"奔跑时受伤,范爷做的这些细节见证人品

3,225 544
披萨简笔画步骤图解

披萨简笔画步骤图解

5,492 458
唯美ins紫色

唯美ins紫色

7,036 571
露耳超短发,时尚还帅气,爱个性的美女一定要试试|短发|发型|发质_新浪

露耳超短发,时尚还帅气,爱个性的美女一定要试试|短发|发型|发质_新浪

5,038 960
第五人格-杰克死神|插画|商业插画|我不是亚苏 - 原创作品 - 站酷 (zc

第五人格-杰克死神|插画|商业插画|我不是亚苏 - 原创作品 - 站酷 (zc

4,193 360

八零图社

视觉艺术探索平台

探索无限创意,发现精彩世界。我们致力于为您提供最优质的图片资源和视觉体验,激发您的创意灵感。

快速导航

  • 首页
  • 最新图片
  • 热门图片
  • 排行榜
  • 全部分类

关于我们

  • 平台简介
  • 联系我们
  • 隐私政策
  • 使用条款
  • 版权声明

订阅更新

订阅我们的新闻通讯,获取最新图片推荐和创意灵感

我们尊重您的隐私,不会向第三方分享您的信息

© 2026 八零图社. 保留所有权利。

隐私政策 使用条款 联系我们