八零图社

视觉艺术探索平台

首页 最新 热门 排行

分类浏览

自然风光 动漫卡通 美食摄影 科技数码 人物写真 创意设计 壁纸背景 游戏原画

© 2026 八零图社

探索无限视觉可能

  1. 首页
  2. 人物头像真人
  3. 图片详情
加载中...
小清新女生头像可爱真人唯美甜美女生乖巧图片

小清新女生头像可爱真人唯美甜美女生乖巧图片

图片尺寸 400x400
上传时间 2026-03-18 12:06:35
关键词 人物头像真人
查看原图 下载图片

图片链接

原图
外链

相关图片

女头 高冷 女用头像 网红女头 真人头像 实拍女头 新女头 gj 人物女

女头 高冷 女用头像 网红女头 真人头像 实拍女头 新女头 gj 人物女

3,649 758
真人人物头像图片大全大图 真人头像图片大全 -【爱个性】

真人人物头像图片大全大图 真人头像图片大全 -【爱个性】

3,056 520
精选一眼就相中的超好看真人姐妹头像

精选一眼就相中的超好看真人姐妹头像

9,294 278
真人好看头像图片女生 高清漂亮的女生头像真实人物图片_女生头像

真人好看头像图片女生 高清漂亮的女生头像真实人物图片_女生头像

5,250 732
可爱女生头像真人留下的时间交给了喜欢的人

可爱女生头像真人留下的时间交给了喜欢的人

9,553 617
九人真人闺蜜头像女生同一人九张多张系列头像

九人真人闺蜜头像女生同一人九张多张系列头像

3,558 313
超级好看的优质头像女让人很舒服的女生头像真人

超级好看的优质头像女让人很舒服的女生头像真人

6,123 502
真人头像

真人头像

2,680 659

随机推荐

蓝精灵2

蓝精灵2

4,403 586
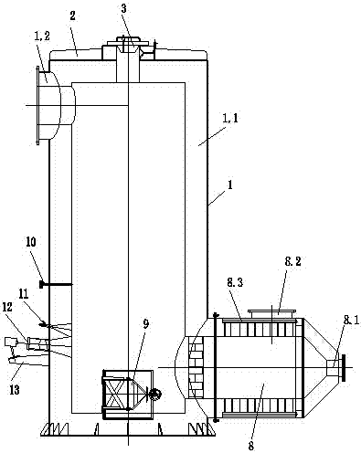
一种二次燃烧炉制造技术

一种二次燃烧炉制造技术

2,298 768
《遇见,钢琴谱》孙燕姿(五线谱 钢琴曲 指法)-弹吧|蛐蛐钢琴网

《遇见,钢琴谱》孙燕姿(五线谱 钢琴曲 指法)-弹吧|蛐蛐钢琴网

9,095 379
被林秋楠笑到,一脚得罪半个公司

被林秋楠笑到,一脚得罪半个公司

9,213 839
46岁丧偶女征婚照片(id:57376098)_山西太原征婚交友_珍爱网

46岁丧偶女征婚照片(id:57376098)_山西太原征婚交友_珍爱网

9,807 343
插画,风景,人物,森系,手绘,水彩,涂鸦,星空,唯美,意境,背景

插画,风景,人物,森系,手绘,水彩,涂鸦,星空,唯美,意境,背景

8,741 573
泪流满面的女生哭泣的图片

泪流满面的女生哭泣的图片

8,873 716
装甲车简笔画图片教程

装甲车简笔画图片教程

5,474 463

八零图社

视觉艺术探索平台

探索无限创意,发现精彩世界。我们致力于为您提供最优质的图片资源和视觉体验,激发您的创意灵感。

快速导航

  • 首页
  • 最新图片
  • 热门图片
  • 排行榜
  • 全部分类

关于我们

  • 平台简介
  • 联系我们
  • 隐私政策
  • 使用条款
  • 版权声明

订阅更新

订阅我们的新闻通讯,获取最新图片推荐和创意灵感

我们尊重您的隐私,不会向第三方分享您的信息

© 2026 八零图社. 保留所有权利。

隐私政策 使用条款 联系我们